• Page :
  • 1

SUJET :

Silen bloc à remplacer 06 Juil 2018 18:04 #634723

Bonjour,

Les silent-blocs de mon valiant commencent à être très fatigués. Je souhaiterai les remplacer.
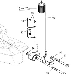
Chez Mercury, la pièce vaut près de 250€ (swivel tube ou tube pivotant).



A priori les silent-blocs ne se détaillent pas.
Avez-vous des adresses ou je pourrai trouver ces pièces au détail, en sachant qu'il faudra que je les colle dans le support, ce qui n'est pas forcement gagner.
En effet, j'ai vu sur d'autre forum, qu'en général les silent-bloc étaient vulcanisés sur leur support. Je suis preneur de la super colle miracle ;)

d'autre part, j'ai essayé de démonter les 2 boulons et le bracelet (pieces 13 et 14). Elles sont totalement bloqués.
Avez-vous une solution particulière pour les débloquer (à part WD40) et frappe avec un tas en bronze ?


Merci pour votre aide.
Pièces jointes :

Connexion ou Créer un compte pour participer à la conversation.

Silen bloc à remplacer 08 Juil 2018 23:29 #634844

Je suis très surpris que tu ne trouves pas ces silent-blocs qui semblent très faciles à changer !

Tu peux les remplacer par une pièce identique usinée dans du PVC gris ou noir par exemple, ça marche très bien.

Et tu coupes le boulon qui t'emm...

Connexion ou Créer un compte pour participer à la conversation.

  • Page :
  • 1
Sauvegarder
Choix utilisateur pour les Cookies
Nous utilisons des cookies afin de vous proposer les meilleurs services possibles. Si vous déclinez l'utilisation de ces cookies, le site web pourrait ne pas fonctionner correctement.
Tout accepter
Tout décliner
En savoir plus
Général
Cookie nécessaires au fonctionnement du site
Identification
cookie d'identification
Accepter
Décliner